- Potpuna elektronska regulacija nivoa snage na 12 nivoa
- Može se savršeno kombinovati sa drugim Vario uređajima iz 400 serije
Zone za kuvanje
1 višenamenski wok plamenik (300 W – 5800 W), pogodan za posude do maks. ø 32 cm.
2 plamenika sa dva prstena i visokim učinakom (165 W – 4000 W), pogodna za posude do maks. ø 28 cm.
2 plamenika sa dva prstena i standardnim učinakom (165 W – 2000 W), pogodna za posude do maks. ø 24 cm.
Kontrola
Kontrolna dugmadi sa osvetljenim prstenom, oznakama za zonu kuvanja i nivo snage.
Upravljanje jednom rukom.
Potpuna elektronska kontrola na 12 nivoa snage za preciznu regulaciju snage, uz funkciju kuvanja na niskoj temperaturi.
Automatsko brzo paljenje.
Karakteristike
Funkcija kuvanja na niskoj temperaturi.
Trojdelna rešetka od livenog gvožđa sa ravnom, kontinuiranom površinom za posude.
Plamenici od mesinga.
Bezbednost
Elektronsko praćenje plamena sa automatskim ponovnim paljenjem.
Indikacija preostale toplote.
Bezbednosno isključivanje.
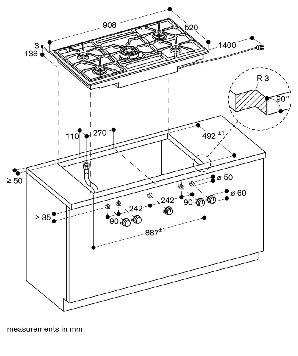
Napomene za planiranje
Zavisno od tipa ugradnje (ugradnja na površinu ili u ravni, sa ili bez poklopca uređaja), specifičan položaj otvora i pozicije dugmadi mogu varirati.
Horizontalno postavljanje dugmadi može biti usklađeno sa specifičnim plamenicima.
Crtež "Ugradnja kontrolnog dugmeta" mora se poštovati ako je panel deblji od 23 mm (mora postojati udubljenje na zadnjem delu).
Ako se kombinuju nekoliko Vario uređaja iz 400 serije, između uređaja mora se postaviti priključni trak VA 420. Zavisno od tipa ugradnje, odgovarajući priključni trak mora biti obezbeđen.
Nosivost i stabilnost, posebno u slučaju tanjih radnih površina, moraju biti podržani odgovarajućim podstrukturama. Uzmite u obzir težinu uređaja i dodatna opterećenja.
Dodatna uputstva za ugradnju u ravni:
Ugradnja je moguća u radnim površinama od kamena, sintetičkih materijala ili punog drveta. Mora se obezbediti otpornost na toplotu i vodootpuno zaptivanje ivica otvora. U vezi sa drugim materijalima, preporučuje se da se konsultujete sa proizvođačem radne površine.
Udaljenje mora biti kontinuirano i ravno, kako bi se osiguralo ravnomerno postavljanje uređaja na brtvu. Ne koristite prekidane obloge.
Širina spoja može varirati zbog tolerancija veličine kombinacija i otvora u radnoj površini.
Ako se ugrađuje više uređaja u pojedinačne otvore, obezbedite razdelni trak širine najmanje 50 mm između pojedinačnih otvora.
Specijalni nastavci mogu se naručiti kao rezervni delovi.
Planirajte električni priključak (uređaj nije operativan bez napajanja).
Usis vazduha sa gornje strane.
Izmeđupolica nije potrebna.
Zadnji panel i obloge zida moraju biti otporni na toplotu i sastavljeni od materijala koji nije zapaljiv.
Mora se poštovati minimalni bočni razmak od najmanje 300 mm od susednog nameštaja osetljivog na toplotu ili kontaktnih površina, ili je potrebno postaviti termičku izolaciju.
Ugradnja u donji ormar širine 90 cm je obavezna.
Sa ukupnom priključnom snagom većom od 11 kW, moraju se poštovati lokalni propisi u vezi sa ventilacijom prostorije, veličinom prostorije i kombinacijom nape za izduvavanje ili recirkulaciju.
Minimalna udaljenost između površine ploče za kuvanje i ormara iznad, koji nije zapaljiv, mora biti 76 cm.
Minimalna udaljenost do ventilacije iznad prikazana je u napomenama za planiranje za pojedinačne proizvode ventilacije.
Kombinacija sa VL 414 nije preporučena, jer se zbog razmaka ne može garantovati efikasno usisavanje vazduha sa centralnog plamenika.
Uređaj se može postaviti u radnu površinu sa gornje strane.
Težina uređaja: približno 30 kg.
Priključak
Ukupna priključna snaga za gas 17.8 KW.
Ukupna priključna snaga za električni priključak 15 W.
Priključni kabl od 1,4 m sa utikačem.
























